Mẫu sedan Toyota Corolla Altis đang nhận ưu đãi lớn từ các đại lý, giảm mạnh tới hơn 70 triệu đồng và tặng kèm nhiều phần quà hấp dẫn cho khách hàng.
Tại một số đại lý chính hãng, Toyota Corolla Altis đang được chào bán với ưu đãi khá sâu. Cụ thể, tại Nghệ An báo giá mẫu sedan hạng C này lần lượt là 660 triệu đồng cho bản 1.8E và 733 triệu đồng cho bản 1.8G, tương đương với mức giảm 73 triệu và 30 triệu đồng so với giá niêm yết.
Trong khi đó, một đại lý tại Tây Ninh chỉ giảm 30 triệu cho bản 1.8G của Toyota Corolla Altis, giá xuống còn 733 triệu đồng nhưng tặng kèm hai năm bảo hiểm vật chất trị giá 20 triệu đồng và một số quà tặng phụ kiện chính hãng khác.

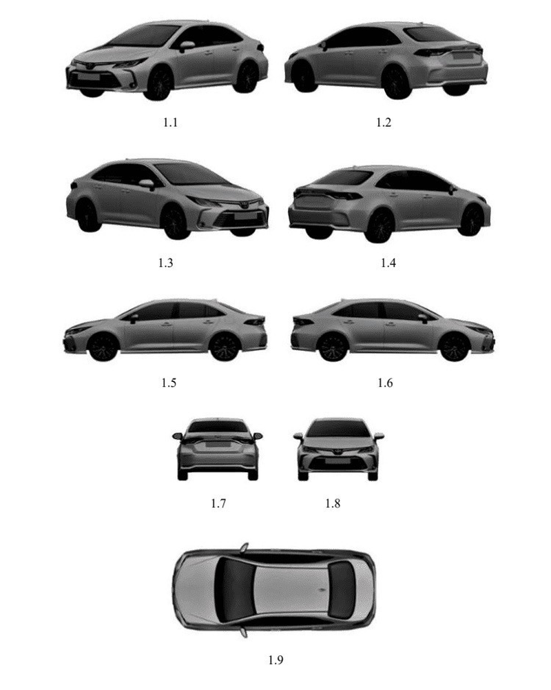
Corolla Altis được các đại lý giảm giá đồng loạt khiến nhiều người dùng đặt nghi vấn về việc mẫu sedan hạng C này chuẩn bị đón bản mới. Đầu tháng 2 vừa qua, hình ảnh đăng ký độc quyền kiểu dáng thiết kế của Toyota Corolla Altis thế hệ mới đã xuất hiện trên trang web của Cục Sở hữu Trí tuệ Việt Nam.
Trước đó vào tháng 8/2020, mẫu sedan hạng C đón bản nâng cấp nhẹ, bổ sung thêm gói ngoại thất mới có phần thể thao hơn cùng một số trang bị tiện nghi nhưng giá niêm yết lại giảm nhẹ và đồng thời số phiên bản bán ra thị trường giới hạn chỉ còn hai bản.

Thế hệ mới của Toyota Corolla Altis được phát triển dựa trên cơ sở gầm bệ Toyota New Global Architecture (TNGA) tương tự như Toyota Camry. Do đó, cột A của mẫu xe này cũng được làm mỏng lại hứa hẹn sẽ có tầm nhìn thoáng hơn đời cũ. Thiết kế nội/ngoại thất của xe cũng sẽ được thay đổi theo hướng hiện đại hơn, trong đó phần đầu của Corolla Altis mới có nhiều điểm giống với Toyota Camry.
Hiện vẫn chưa rõ trong trường hợp ra mắt Việt Nam, thế hệ mới của Toyota Corolla Altis vẫn sẽ được lắp ráp trong nước hay chuyển sang nhập khẩu nguyên chiếc từ Thái Lan. Mẫu xe này cũng được kỳ vọng sẽ có nhiều công nghệ mới ví dụ như gói an toàn Toyota Safety Sense được trang bị trên nhiều sản phẩm mới của Toyota Việt Nam trong năm 2020.